运营商财经网实习生/文
近日,天润乳业公告称,公司及控股子公司共收到政府补助6908.21万元,其中收入相关政府补助1588.21万元,占公司去年净利润的8.08%。这个补贴对公司来说已经不少了。
于是,运营商财经网注意到了公司背后的高管团队,试图揭露公司董秘冯玉波的过去。

公开资料显示,冯玉波出生于1987年,现年36岁。在他成为公司秘书的那一年,他才31岁。这个年纪就当上了上市公司的董事会秘书,还是很不错的。并且他拥有学士学位,但官方并未透露他的具体毕业院校和毕业时间等相关信息。
官方对其早期工作经历的信息不多,但我们能知道的是,冯玉波进入天润乳业后,先后担任公司第六届、第七届董事会董事、秘书,第六届监事会职工代表监事,公司证券投资部副主任,证券事务代表。
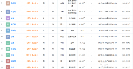
除了这些职务,今年2月,他还被任命为公司副总经理。现为该公司董事、副总经理、董事会秘书。
据天眼调查,冯玉波去年的工资是65.59万,还算不错,但不如公司另一位有大专学历的副总尤红。副总经理周建国年薪60.83万,副总经理王军年薪61.4万,都不如冯玉波。

值得注意的是,公司发布了2022年实施股权分配的公告,表示公司将向全体股东每10股派发现金红利1.87元,合计现金约5897.8万元,在乳业尚可接受。但由于冯玉波公司的股份数量官方并未透露,运营商财务不知道他这次会得到多少好处。
公司一季报显示,今年一季度,新疆以外的市场对公司贡献较大。具体来看,天润乳业在新疆和海外市场的销售额分别为3.74亿元和2.56亿元,同比分别增长8.1%和30.2%。
为了拓展新疆以外的市场,公司在山东建厂,项目预计今年10月底试运营。此前,冯玉波在机构调研问答中表示,为保证销售,公司于2022年底成立天润销售山东分公司,并任命一名经验丰富的销售总监负责。预计2023年10月试运营,招商、营销策划等各项准备工作已经在进行中。
冯玉波未来在天润乳业会如何发展?运营商金融将持续关注。
微信扫码
QQ扫码
您的IP:10.1.228.218,2025-12-30 02:30:47,Processed in 0.35791 second(s).