运营商财经网实习生/文
近日,长安汽车官方公布了深蓝汽车2023年7月销量。数据显示,今年7月,深蓝汽车共交付新车13172辆,创历史新高。这一次,运营商财经网将聚焦深蓝汽车董事长汪小菲,试图梳理他的过往经历。

公开资料显示,汪小菲出生于1982年4月,现年41岁。他是四川富顺人。他有很强的学习能力。清华大学材料科学与工程专业本科毕业,工程师。
除了良好的教育背景,汪小菲还有丰富的工作经验。据了解,汪小菲于2005年8月开始工作。从年龄来看,他很可能一毕业就加入了长安汽车。
天眼查APP显示,在担任深蓝汽车董事长之前,汪小菲曾担任长安汽车商用车事业部规划运营部产品策划经理、事业部产品副总监。
此外,在乘用车领域积累了足够的工作经验,历任乘用车营销事业部副总经理、产品营销总监、产品规划部。欧尚汽车事业部产品部副总监,欧尚汽车事业部总经理。
公开数据显示,长安欧尚2022年全年销量超过22万辆。虽然官方没有说汪小菲为什么调任深蓝汽车担任董事长,但是因为长安欧尚这几年的表现,有文章分析他在执掌欧尚时的表现可能是他能够担任深蓝汽车董事长的原因。
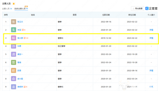
虽然不清楚汪小菲何时出任深蓝汽车董事长,但据天眼查APP报道,深蓝汽车上一任董事长杨大勇已于今年2月22日离任。直到今年,汪小菲才开始以深蓝汽车董事长的身份出现,为深蓝汽车加油。

日前,在深蓝品牌发布会上,汪小菲曾表示“深蓝汽车致力于打造行业第一增程技术,成为行业第一增程品牌。”
值得一提的是,李,其目前的车型都是增程式电动车,已公开表示,它将在未来三年内成为中国第一豪华品牌。
目前,汪小菲还担任长安汽车股份有限公司副总裁..运营商财经网将持续关注深蓝汽车和汪小菲的未来表现。
微信扫码
QQ扫码
您的IP:10.1.228.218,2025-12-30 04:15:08,Processed in 0.34074 second(s).