红星资本局8月29日报道,近期,资本市场积极信号频出。此前,8月27日晚间,证监会发布政策调整,进一步规范股份减持行为。
据红星资本局初步统计,截至8月29日16时,已有28家上市公司做出回应,其中17家宣布终止增持。
8月27日晚间,证监会发布政策调整,进一步规范减持行为,被视为史上最严“减持新规”。
根据证监会要求,上市公司发生破净或破净,或最近三年未进行现金分红,且累计现金分红低于最近三年年均净利润的30%的,控股股东和实际控制人不得通过二级市场减持公司股份。控股股东和实际控制人的一致行动,按照上述要求执行;上市公司披露无控股股东、实际控制人的,第一大股东及其实际控制人应当按照上述要求执行。
据Choice数据统计,最近三年未进行现金分红的上市公司约有1759家,且累计现金分红低于最近三年年均净利润的30%。跌破发行价的上市公司约有994家,市净率低于1的约有405家。数据去重后,约有2500家上市公司不符合减持规范要求,即约半数上市公司无法减持。
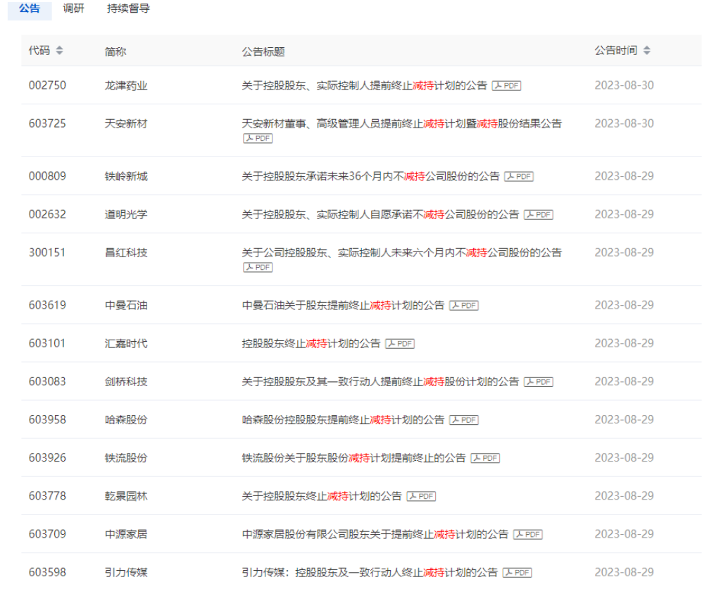
据红星资本局初步统计,截至8月29日16时,已有17家上市公司宣布终止或暂停减持计划。它们是金龙制药(002750。SZ)、天安新材(603725。上海)、仲满石油(603619。SH),家辉时报(603101。SH)、剑桥科技(603083。SH)、刘铁股份有限公司(603926。SH)引力介质(603598。SH)、金麒麟(603586。SH)、大智慧(601519。SH)、永定(600105。SH)、东木(600114。SH)、金能科技(603113。SH)和爱旭。

此外,有11家上市公司承诺在特定期限内不减持,其中多数公司做出了6个月至12个月不减持的承诺。发布公告的公司有豪普特(688686。SH)、龙蟠科技(603906。SH),值得买(300785。SZ)、翔凤华(300890。SZ)、清水源(300437。SZ)和芒果超媒体(300413。SZ)。
公开资料显示,8月以来,深市已有超过60家公司披露了承诺不减持或延长限售期的公告。有业内人士指出,证监会新规发布后,将有更多上市公司主动加入不减持行列。
编辑杨成
微信扫码
QQ扫码
您的IP:10.1.228.218,2026-01-02 20:38:39,Processed in 0.26696 second(s).