运营商财经网张杨/文
日前,有着“药中茅台”之称的东阿阿胶(000423)发布公告称,高登锋因工作变动辞去东阿阿胶董事长、董事职务,不再担任公司任何职务,同时辞职的还有公司副总裁张名君。
在新任董事长选举产生之前,“华润系”高管、公司总裁程杰曾暂代董事长一职,不过现在白晓松已经上任东阿阿胶董事长,他也是“华润系”。下面,运营商财经就试图揭秘这位高管程杰。

公开资料显示,程杰1979年3月出生,毕业于沈阳药科大学,获中药学学士学位,这份学历在当时来看还是相当有含金量的。
早在2003年9月,程杰就加入华润三九,并一直在华润旗下工作,历任华润三九OTC终端代表、处方药管理专员、产品助理、产品专员、助理经理、999感冒灵产品经理、产品总监、OTC销售市场部总监、营销中心副总经理、总经理,不难看出,程杰应当是在华润三九旗下工作多年。
此后,他又接连担任澳诺(中国)制药有限公司执行董事,三九赛诺菲(深圳)健康产业有限公司董事、总经理。
直至2022年1月,程杰上任东阿阿胶(000423)董事、总裁,今年2月,此番高登锋辞任,华润系的老员工程杰上暂代履职,或许就意味着华润系从管理体系上正式掌控东阿阿胶。
事实上,东阿阿胶内部其实一直存在着“本土派”和“华润派”。华润集团2004年就已经明确入主东阿阿胶。但央企直接插手地方国企难度很大,以至于过去很长一段时间里,东阿阿胶的管理风格都不是“华润式”的。
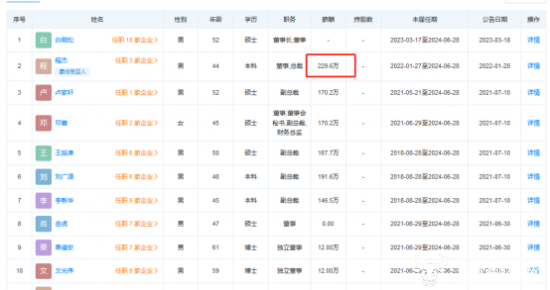
据天眼查APP显示,程杰去年所获的薪酬为229.6万元。比公司其他高管待遇都要好,远高于副总裁李新华、刘广源、王延涛、卢家轩分别所获的146.54万元、191.62万元、167.67万元、170.17万元。

此后有关东阿阿胶的其他消息,运营商财经将持续关注。
微信扫码
QQ扫码
您的IP:10.1.201.110,2026-04-05 13:00:41,Processed in 0.25056 second(s).